美标(biao)旋塞閥介紹 X47X美(měi)标壓力平衡式(shì)倒裝油密封旋(xuán)塞閥适用于公(gōng)稱壓力CLASS150-CLASS1500,工作溫(wen)度為-29-180℃的石油、化(huà)工、制藥、化肥、電(diàn)力行業等各種(zhǒng)工況的管路上(shàng),切斷或接通管(guan)路介質。旋塞⚽閥(fá)的閥體和密封(fēng)面間✊設有油槽(cáo),可随時通過油(yóu)嘴向閥座注入(ru)密封油脂,增加(jiā)密🐇封性能。零件(jiàn)材質及🔴法蘭尺(chi)寸可根據實際(ji)工況或用戶要(yao)求合理選配,滿(mǎn)足各種工程需(xū)要。
美标旋塞閥(fá)應用範圍 壓力(lì)平衡式倒裝油(yóu)密封美标旋塞(sai)閥适用于公稱(chēng)壓⭐力CLASS150~1500LBS,工作溫度(dù)-29~180℃的石油、化工、制(zhi)藥、化肥、電力行(hang)業等各種工況(kuàng)的管路上,切斷(duan)或接通管路介(jie)質。
美标旋塞閥(fa)結構特點 1、美标(biāo)旋塞閥産品結(jie)構合理、密封可(ke)靠、性能優良、造(zào)📧型美觀;
2、美标油(yóu)密封旋塞閥倒(dao)裝壓力平衡的(de)結構,開關動作(zuo)✊輕;
3、閥體和密封(fēng)面間設有油槽(cáo),可随時通過油(yóu)嘴向閥座注入(rù)密✏️封油脂,增加(jiā)密封性能;
4、零件(jian)材質及法蘭尺(chi)寸可根據實際(ji)工況或用戶要(yao)求合理選配,滿(man)足各種工程需(xu)要。
美标旋塞閥(fá)标準規範 設計(ji)制造标準:API599、API6D
結構(gòu)長度标準:ASME B16.10
連接(jiē)法蘭标準:ASME B16.5
壓力(lì)溫度等級:ASME B16.34
試驗(yàn)檢驗标準:API 598
美标(biāo)旋塞閥産品性(xìng)能規範| 公稱壓(yā)力(LB) | 殼體試驗壓(ya)力(MPa) | 密封試驗壓(yā)力(MPa) | 适用溫度(℃) | 使(shi)用介質 |
| 150 | 3.0 | 2.2 | ≤180℃ | 水、蒸汽(qì)、油品等 |
| 300 | 7.5 | 5.5 |
| 600 | 15.0 | 11.0 |
| 900 | 22.5 | 16.5 |
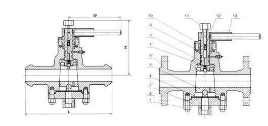
美标旋(xuán)塞閥零件材料(liao)與工況
序号 | 名(ming)稱 | 材質 |
1 | 雙頭螺(luo)栓 | ASTM A194-2H、A194-8、A194-8M |
2 | 六角螺母 | ASTM A194-2H、A194-8、A194-8M |
3 | 閥(fa)蓋 | ASTM A216-WCB ASTM A217-WC1、WC6、WC9、C5 ASTM A351-CF8、CF8M、CF3、CF3M |
4 | 墊片 | 柔性石(shi)墨+不鏽鋼 |
5 | 塞子(zǐ) | ASTM A182-Gr.F6a ASTM A182-F22 ASTM A182-F304、F316、F321、F304L、F316L |
6 | 閥體 | ASTM A216-WCB ASTM A217-WC1、WC6、WC9、C5 ASTM A351-CF8、CF8M、CF3、CF3M |
7 | 閥杆 | ASTM A182-Gr.F6a ASTM A182-F22 ASTM A182-F304、F316、F321、F304L、F316L |
8 | “O”型圈(quan) | 丁腈橡膠NBR |
9 | 填料(liao) | 柔性石墨 |
10 | 填料(liao)壓蓋 | ASTM A216-WCB ASTM A217-WC1、WC6、WC9、C5 ASTM A351-CF8、CF8M、CF3、CF3M |
11 | 加油嘴 | |
12 | 止(zhǐ)回閥 | |
13 | 手柄 | ASTM A47-32510、A216 WCB |

| 型号 | X47-150LB |
| 壓力等(děng)級 | 150LB |
| 口徑Size | mm | 15 | 20 | 25 | 32 | 40 | 50 | 65 | 80 | 100 | 125 | 150 | 200 | 250 | 300 | 350 |
| in | 1/2 | 3/4 | 1 | 11/4 | 11/2 | 2 | 21/2 | 3 | 4 | 5 | 6 | 8 | 10 | 12 | 14 |
| L | 108 | 117 | 127 | 140 | 165 | 178 | 190 | 203 | 229 | 254 | 267 | 292 | 330 | 356 | 381 |
| H | 180 | 180 | 185 | 200 | 210 | 215 | 250 | 270 | 300 | 340 | 365 | 400 | 450 | 510 | 590 |
| W | 400 | 400 | 500 | 500 | 600 | 600 | 820 | 820 | 300 | 300 | 320 | 320 | 350 | 380 | 380 |
| 重量(kg) | 10 | 12 | 14 | 17 | 19 | 21 | 29 | 33 | 48 | 75 | 98 | 125 | 171 | 230 | 370 |
注(zhù):四寸及以上為(wéi)蝸輪操作4"
注:四寸及(jí)以上為蝸輪操(cāo)作4"

| 型号(hao) | X47-600LB |
| 壓力等級 | 600LB |
| 口徑(jing)Size | mm | 15 | 20 | 25 | 32 | 40 | 50 | 65 | 80 | 100 | 125 | 150 | 200 | 250 | 300 | 350 |
| in | 1/2 | 3/4 | 1 | 11/4 | 11/2 | 2 | 21/2 | 3 | 4 | 5 | 6 | 8 | 10 | 12 | 14 |
| L | 165 | 190 | 216 | 229 | 241 | 292 | 330 | 356 | 432 | 508 | 559 | 660 | 787 | 838 | 889 |
| H | 180 | 180 | 185 | 200 | 210 | 215 | 250 | 270 | 300 | 340 | 365 | 400 | 450 | 510 | 590 |
| W | 400 | 400 | 500 | 500 | 600 | 600 | 820 | 820 | 300 | 300 | 320 | 320 | 350 | 380 | 380 |
| 重量(kg) | 14 | 16 | 18 | 20 | 24 | 29 | 35 | 47 | 91 | 129 | 210 | 320 | 660 | 920 | 1250 |
注:四寸及(ji)以上為蝸輪操(cāo)作4"
| 型号 | X47-900LB |
| 壓力等(děng)級 | 900LB |
| 口徑Size | mm | 15 | 20 | 25 | 32 | 40 | 50 | 65 | 80 | 100 | 125 | 150 | 200 | 250 | 300 | 350 |
| in | 1/2 | 3/4 | 1 | 11/4 | 11/2 | 2 | 21/2 | 3 | 4 | 5 | 6 | 8 | 10 | 12 | 14 |
| L | 229 | 229 | 254 | 279 | 305 | 368 | 419 | 381 | 457 | 559 | 610 | 737 | 838 | 965 | 1029 |
| H | 180 | 180 | 185 | 200 | 210 | 215 | 250 | 270 | 300 | 340 | 365 | 400 | 450 | 510 | 590 |
| W | 400 | 400 | 500 | 60 | 600 | 820 | 1000 | 1000 | 300 | 300 | 320 | 320 | 350 | 380 | 380 |
| 重量(kg) | 17 | 29 | 21 | 24 | 30 | 37 | 44 | 65 | 110 | 160 | 255 | 380 | 810 | 1050 | 1460 |
注(zhù):四寸及以上為(wei)蝸輪操作4"